Search Icon
Funnel Icon

Fetching results ...

Pen Icon

Search for something ...

Sad Face Icon

No results found, try adjusting your search

skip to Fullex XL Lever Operated Latch & Hookbolt Multipoint Lock

Fullex XL Lever Operated Latch & Hookbolt Multipoint Lock

£110.60

(£92.17 ex VAT)

sku: XL3W45650
  • Twin spindle mechanism compatible with 92mm and 62mm centres
  • Features two steel hooks and two anti-lift bolts for enhanced security
  • Centre case includes a latch and hookbolt for central locking point stability
  • Secured by Design certified for proven resistance against forced entry
  • Designed for use on timber door systems as a high-security solution
  • Euro profile cylinder compatible for standard lock integration
  • Provides a multi-point locking sequence to prevent door warping and improve weather sealing
Qty:

Shipping From:

When ordering multiple Keyed Alike locks, only 1 set of keys are provided as all additional locks are made to work from that key.

If ordering 4 or more keyed alike locks you can have them set up as different groups. If Required: Let us know the details in the "Specific Key Requirements" field above.

Each group of locks will then receive keys.

Secured By Design Icon
tick Latch & Hookbolt

The Fullex XL multipoint door lock is engineered to provide maximum security for residential and commercial entryways. Utilising a lever-operated mechanism, the system engages multiple locking points along the edge of the door, including a central latch and hookbolt, supplemented by additional hooks and anti-lift bolts to prevent the door from being levered out of its frame.

This lock is particularly suited for timber door installations where robust security and alignment are priorities. The twin spindle design allows for versatile handle configurations, accommodating both 92mm and 62mm centres to provide flexibility in lever operation and external access control.

  • Secured by Design certified for enhanced security performance
  • Opposing steel hooks provide strong resistance against jemmy attacks
  • Anti-lift bolts ensure the door remains securely seated within the frame
  • Compatible with standard Euro profile cylinders
  • Ideal for both new installations and as a high-specification replacement unit

Commonly specified for environments requiring upgraded protection, the Fullex XL range offers a durable and reliable solution for long-term door security and structural integrity.

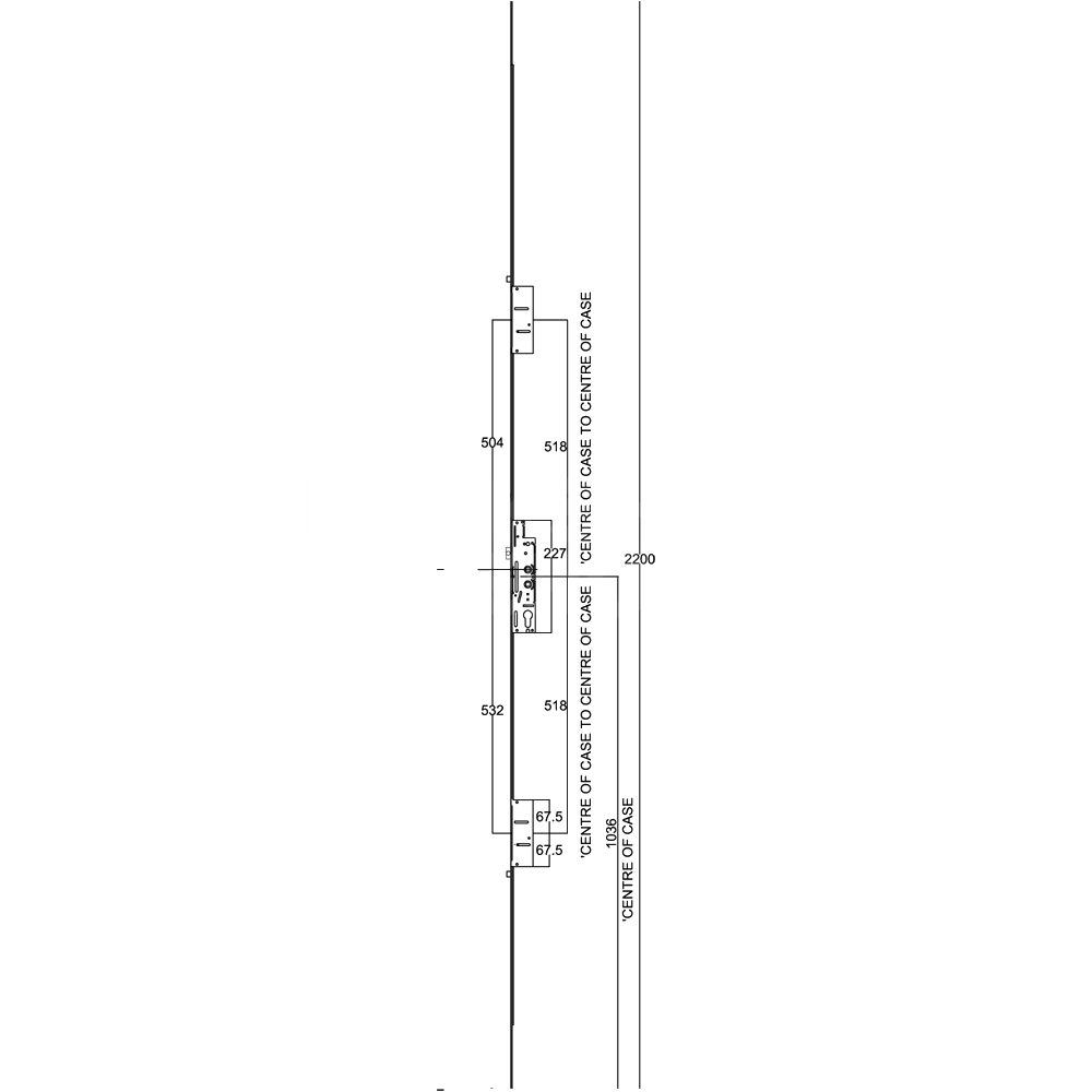
Dimensions Image: Fullex XL Lever Operated Latch & Hookbolt Multipoint Lock
Part Size (mm)
Backset 45
Body Length 2200
Case Width 45
Case Height 228
Locking Point Anti Lift 2
Locking Point Hooks 2
Faceplate Width 44

FAQs

This multipoint lock is specifically engineered for use on timber door systems. It provides a high-security solution that helps maintain proper door alignment and improves weather sealing for wood installations.

The Fullex XL features a comprehensive locking sequence to ensure maximum security:

  • A central latch and hookbolt
  • Two additional steel hooks to resist jemmy attacks
  • Two anti-lift bolts to prevent the door from being lifted out of the frame

The twin spindle design is highly versatile, supporting handle configurations with both 92mm and 62mm centres. This makes it compatible with a wide range of standard lever handles used in residential and commercial settings.

Yes, the Fullex XL is Secured by Design certified. This official police security initiative confirms that the lock has been tested to withstand common methods of forced entry, providing a proven level of protection for your property.